Starting on September 10, 1996, a series of patents was granted for bicycle suspensions with “S-shaped” paths similar to the region around equilibrium for the path in Figure 3.11 C) [see http://www.google.com/patents U.S. patent 5,553,881, U.S. patent 5,628,524, U.S. patent 5,867,906, and U.S. patent 6,206,397].
The original design, essentially a 4-bar with reinforcing upper links, was produced under the name “Outland”. The bikes are no longer in production due to serious errors in application – the frame members and pivots were severely under-built.
A second Outland design, covered in the last patent, will shortly be introduced by Santa Cruz and Intense. This design also has the potential to produce an “S-shaped” path.
By following the “images” links from the patent links above, one may view TIFF images associated with the patents. If your browser does not have TIFF capability, then the “alternatiff” program may be installed to give such a capability. In the following explanation of the VPP concept, we have included what we consider to be the most relevant pictures.
We will now give an explanation of the VPP concept, with an explanation of the original mechanism and some important commentary. We will then do an analysis of the current design configurations being developed by Santa Cruz and Intense.
Figures 4.9) through 4.17) were taken from U.S. patent 6,206,397.
The following explanation for the VPP concept comes from the abstract of the latest patent:
“A rear suspension system for a bicycle. The system directs the rear wheel along a predetermined, S-shaped path as the suspension is compressed. The path is configured to provide a chainstay lengthening effect only at those points where this is needed to counterbalance the pedal inputs of the rider; at those points in the wheel travel path where there is a chainstay lengthening effect, the chain tension which results from the pedal inputs exerts a downward force on the rear wheel, preventing unwanted compression of the suspension. The system employs a dual eccentric crank mechanism mounted adjacent the bottom bracket shell to provide the desired control characteristics.”
The intent of this system is similar to that of the path we explored in Figure 3.11 C), which is to provide anti-squat during pedaling through a rearward tilting path near sag, while reducing the effects of bump feedback by turning the curve back toward a more constant radius about the bottom bracket, away from sag. Figure 4.9) shows the original VPP mechanism, at sag, with path pictured.
Figure 4.9)
Note that the axle is near the bottom of the region where the path takes a backward turn.
Being currently unique in its ability to produce significantly variable curvature, the VPP concept is probably the most intriguing design out at the present time.
The VPP concept will really prove a significant departure from prior designs if manifestations can strike the right balance in having a curve above equilibrium tight enough to reduce bump feedback significantly, but not so tight that suspension performance is compromised through the travel range. This must also be done while maintaining reasonable weight, strength, and durability.
Figure 4.10) shows several possible S-shaped paths in relation to circular paths. The VPP paths here show an obvious deviation from circular.

Figure 4.10)
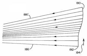
Figure 4.11) shows an s-shaped path, with lines of chain force that the inventors envisioned as acting on the axle at various points in the path.

Figure 4.11)
Figure 4.12) shows the closely spaced rotating pivots responsible for the S-shaped path.

Figure 4.12)
Figure 4.13) shows the relative orientations of the rotating pivots, as the suspension goes through its travel. Note that the “Instant Center” starts out very low around full extension, as in Figure 4.13 A), giving a fairly vertical path in this region. The “Instant Center” moves higher as the suspension moves toward the central part of travel, as in Figure 4.13 B), giving a rearward tilting path. The “Instant Center” moves back to a low position as the suspension continues on toward full compression, as in Figure 2.23 C), turning the path back forward to reduce effective chainstay lengthening. A very interesting mechanism; this.

Figure 4.13)
It will prove instructive to note how the inventors saw their mechanism in the context of prior designs. The “BACKGROUND OF THE INVENTION” section of U.S. patent 6,206,397 contains the following:
“Shock absorbing rear suspensions for bicycles are known. In general, however, these have not proven entirely satisfactory in practice.
In most rear suspension assemblies, the rear axle pivots about a single point when subjected to bump forces, as when traversing rough terrain. In these designs, the pedaling forces which are exerted by the rider tend to either compress or extend the spring/damper assembly of the rear suspension. In this respect, the spring/damper assembly of the rear suspension is affected by the pedal force and some of the rider's energy is needlessly wasted.
This effect manifests itself by the common tendency of rear suspension systems to either lock up or ‘squat' when the rider pedals. Since most of these systems have a single lever arm which pivots about a single axis, the lock up or squat generally occurs as a result of chain tension acting on the single lever arm. If the single pivot line is above the chain line, the suspension will typically lock up and/or ‘jack', thereby providing compliance only when the shock or bump force exceeds the chain tension. Conversely, if the single pivot point of the suspension system is below the chain line, the system will typically squat, since the chain tension is acting to compress the spring/damper assembly of the rear suspension system, similar to a shock or bump force.”
There are several incorrect assertions here:
The first is that a mono-pivot will either “lock up or ‘squat' when the rider pedals.” Here they have obviously ignored the fact that a conventional mono-pivot path tangent may be such that there is the minimum possible suspension reaction to pedaling, at equilibrium, for a given gearing.
But most striking is that the inventors have fallen pray to that scourge of the bike industry, “‘Pivot at the Chain Line' (PCL).”, as is amply demonstrated in the last paragraph. This means that they did not properly appreciate front triangle dynamics and were not aware of the ramifications from the chain force running through the wheel, rather then acting directly on the swing arm, as was covered in the ““Center of Mass” (CM).” section.
This adherence to “‘Pivot at the Chain Line' (PCL).” also explains the neglect of gearing, mass, and other issues important to bicycle physics, in the patents, the importance of which was demonstrated in “An Intuitive Look at Forces and Torques.”
Surprisingly, while the inventors had a very simplistic and incorrect view of bicycle suspension physics, they nevertheless came up with a very interesting mechanism, which has the potential to reduce the dilemma of anti-squat verses bump feedback for a bike run with sag. So, while strictly speaking, the VPP theory could be put in the “Flawed Theories and Bogus Marketing.” chapter, we have instead presented the material here, since the error constitutes only a small portion of the ideas involved in a potentially beneficial concept.
We now turn to an analysis of the VPP manifestations currently being developed by Santa Cruz and Intense.
Here should be a link to a VPP diagram, in pdf format, that was released by Santa Cruz and Intense. Note that the path depicted is exaggerated (information they unfortunately deleted in the initial magazine release of this picture).
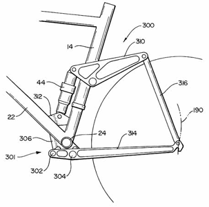
Figures 4.14 A and B) are diagrams of the new design included in U.S. patent 6,206,397.

Figure 4.14)
Disappointingly, we could discover no paths depicted for this mechanism as part of U.S. patent 6,206,397.
The Santa Cruz Blur (Linkage data):
Peter Ejvinsson has created the following beautiful cad drawings, showing the most important information about the Santa Cruz Blur.
The first of these drawings, Figure 4.15), depicts the wheel axle path and the IC path (one inch intervals in wheel travel marked) as the suspension moves through its travel. The IC starts out near the BB, initially arcs up and forward, and finishes by continuing forward but slightly down. The wheel path does have a slight “S” shape, which is a bit difficult to see in this picture.
Figure 4.15)
Click to enlarge
Figure 4.16) depicts the wheel axle path and the path of the center of curvature, as the suspension moves through its travel. The center of curvature starts out behind the bike and quickly moves to negative infinity as the wheel path straightens. As the curvature inverts, the center of curvature jumps to positive infinity, before moving back to a final position well above and slightly behind the BB.

Figure 4.16)
Click to enlarge
From the behavior of the center of curvature, we see that the path is S-shaped, but only slightly. When the wheel is above one inch into travel, the normal sag for a bike with this amount of travel, the radius of curvature is always very large, until the very end, when the center of curvature moves to a horizontal position common in many of today's mono-pivots. It is for each person to determine whether or not this curvature offers any significant advantage over more conventional designs. In our estimation, the wide curvature should offer good coasting bump performance, however, we see no significant advantages for pedaling in this sort of curve.
Figure 4.17) shows the IC path, the center of curvature path, and the lines perpendicular to the path, at one-inch intervals of wheel travel. Note that the perpendicular lines pass through both the IC and center of curvature positions.

Figure 4.17)
Click to enlarge
The slopes of the perpendicular lines again show that the wheel path has a slight S-curve. But more importantly, they show us that this bike will perform under pedaling much like a very high-pivot, mono-pivot bike when the suspension is above one inch of travel, again, the typical sag point. This means that the Blur should have pedaling characteristics similar to those well-known in the Santa Cruz Heckler, but even more so, since the path is wider and slopes back even more. That is, there will be more anti-squat then in a Heckler and correspondingly, more bump feedback.
Recently, this author was able to take a short ride on an Intense VPP cross-country prototype, which has a geometry very similar to that of the Santa Cruz Blur. That ride confirmed the theoretical findings above. The suspension extended under pedaling in all small and most middle ring gears, just as would be the case in a very high-pivot mono-pivot.
Again, it is for each person to determine whether or not this combination of characteristics is right for them. However, it is clear that this bike is subject to the same compromises as designs that have come before.
Those wanting a very high-pivot, hyper-Heckler type of ride will like this bike. We also believe strongly that those who are truly sensitive to bump feedback will not like the bike.
The Santa Cruz V10 (Linkage data):
Figure 4.18) shows the important information for the Santa Cruz V10. The outline of the frame shows the position at full extension. The rear axle path is shown in green, the center of curvature path is shown in turquoise, and the IC path is shown in red, while the lines perpendicular to the path are light orange. Positions in travel are circled at one-inch intervals. The range of travel goes from –2.75 inches to +10 inches of travel, with 0 inches being at full extension. We have plotted the paths beyond full extension in order to show the suspension position needed to produce the S-shaped rear axle curve.

Figure 4.18)
Click to enlarge
Within the range of travel, the rear axle path does not achieve an
S-shape. Rather, it has a wide radius of curvature until the very end of travel, with the path tangents starting out similarly to those of a relatively low-pivot mono-pivot and ending with tangents more similar to higher-pivot designs.
The relatively wide radius of curvature should give the bike good big hit shock absorption, with very little bump kickback. Suspension activation under pedaling should be similar to more conventional medium-height pivot designs on the market.
While we again find that there is no advantage in the tradeoff between anti-squat and kickback, and the rear axle path does not achieve the S-shape, within the range of travel, we nevertheless believe that this design should perform well in its intended downhill application, due to good big bump performance.
The durability and reliability of this frame are unknown, as it is very new at the time of this writing.